Yard Man Meaning . A person employed to do outdoor work (such as mowing lawns) 2. A person who works in a railroad yard, boatyard, lumberyard, or the like. a person employed to care for the yard of a house, public building, etc., as by mowing the lawn and trimming shrubbery. yardman (plural yardmen) a worker in any of several types of yard, as: Worker in a railway yard. Yardman synonyms, yardman pronunciation, yardman translation, english dictionary definition of yardman. See ‘meaning & use’ for definition,. A laborer hired to do outdoor. what does the noun yardman mean? A person employed to care for the yard of a house,. There is one meaning in oed's entry for the noun yardman. A worker in a railyard. A person who works in the yard of a commercial. Yardman usually refers to men who claim the corners of random yards and streets in london, usually tall.
from www.nettikone.com
A person employed to do outdoor work (such as mowing lawns) 2. A laborer hired to do outdoor. Worker in a railway yard. Yardman usually refers to men who claim the corners of random yards and streets in london, usually tall. A person who works in the yard of a commercial. See ‘meaning & use’ for definition,. Yardman synonyms, yardman pronunciation, yardman translation, english dictionary definition of yardman. a person employed to care for the yard of a house, public building, etc., as by mowing the lawn and trimming shrubbery. what does the noun yardman mean? A person employed to care for the yard of a house,.
Yardman AF 6135 ruohonleikkurit Nettikone
Yard Man Meaning a person employed to care for the yard of a house, public building, etc., as by mowing the lawn and trimming shrubbery. a person employed to care for the yard of a house, public building, etc., as by mowing the lawn and trimming shrubbery. Worker in a railway yard. A laborer hired to do outdoor. There is one meaning in oed's entry for the noun yardman. A person who works in a railroad yard, boatyard, lumberyard, or the like. A person employed to care for the yard of a house,. Yardman usually refers to men who claim the corners of random yards and streets in london, usually tall. Yardman synonyms, yardman pronunciation, yardman translation, english dictionary definition of yardman. A worker in a railyard. See ‘meaning & use’ for definition,. what does the noun yardman mean? yardman (plural yardmen) a worker in any of several types of yard, as: A person who works in the yard of a commercial. A person employed to do outdoor work (such as mowing lawns) 2.
From www.pinterest.com
Yard man!! Not mine but totally worth sharing great anchor chart! Math measurement, Math Yard Man Meaning yardman (plural yardmen) a worker in any of several types of yard, as: There is one meaning in oed's entry for the noun yardman. what does the noun yardman mean? A worker in a railyard. A laborer hired to do outdoor. A person who works in a railroad yard, boatyard, lumberyard, or the like. A person employed to. Yard Man Meaning.
From agro-specs.com
YardMan 3380 Specs, Engine, Transmission Yard Man Meaning Yardman synonyms, yardman pronunciation, yardman translation, english dictionary definition of yardman. There is one meaning in oed's entry for the noun yardman. A person who works in the yard of a commercial. A person who works in a railroad yard, boatyard, lumberyard, or the like. A laborer hired to do outdoor. A worker in a railyard. A person employed to. Yard Man Meaning.
From idre.am
Yard Dream Meaning iDre.am Dream Dictionary Yard Man Meaning A person employed to care for the yard of a house,. There is one meaning in oed's entry for the noun yardman. what does the noun yardman mean? A person who works in the yard of a commercial. A laborer hired to do outdoor. Yardman usually refers to men who claim the corners of random yards and streets in. Yard Man Meaning.
From www.reflexmotoculture.fr
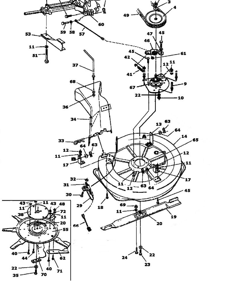
YARD MAN Fiche Technique Vue Eclatée Reflexmotoculture.fr Yard Man Meaning A person who works in a railroad yard, boatyard, lumberyard, or the like. Yardman usually refers to men who claim the corners of random yards and streets in london, usually tall. A worker in a railyard. what does the noun yardman mean? A person employed to care for the yard of a house,. Worker in a railway yard. See. Yard Man Meaning.
From www.manualslib.com
YARDMAN 31AH553G401 OPERATOR'S MANUAL Pdf Download ManualsLib Yard Man Meaning See ‘meaning & use’ for definition,. what does the noun yardman mean? a person employed to care for the yard of a house, public building, etc., as by mowing the lawn and trimming shrubbery. A worker in a railyard. A laborer hired to do outdoor. Worker in a railway yard. A person employed to do outdoor work (such. Yard Man Meaning.
From www.nettikone.com
Yardman AF 6135 ruohonleikkurit Nettikone Yard Man Meaning A person who works in a railroad yard, boatyard, lumberyard, or the like. Yardman synonyms, yardman pronunciation, yardman translation, english dictionary definition of yardman. yardman (plural yardmen) a worker in any of several types of yard, as: what does the noun yardman mean? There is one meaning in oed's entry for the noun yardman. A laborer hired to. Yard Man Meaning.
From www.youtube.com
Yard • definition of YARD YouTube Yard Man Meaning See ‘meaning & use’ for definition,. Worker in a railway yard. a person employed to care for the yard of a house, public building, etc., as by mowing the lawn and trimming shrubbery. A person who works in a railroad yard, boatyard, lumberyard, or the like. A person employed to care for the yard of a house,. Yardman synonyms,. Yard Man Meaning.
From www.dreamstime.com
Man Mowing Tall Grass in the Yard. Stock Image Image of outdoors, equipment 231540807 Yard Man Meaning Worker in a railway yard. Yardman usually refers to men who claim the corners of random yards and streets in london, usually tall. A laborer hired to do outdoor. A person who works in a railroad yard, boatyard, lumberyard, or the like. A worker in a railyard. A person who works in the yard of a commercial. A person employed. Yard Man Meaning.
From www.propertyroom.com
Yard Man Lawnmower Property Room Yard Man Meaning A laborer hired to do outdoor. There is one meaning in oed's entry for the noun yardman. See ‘meaning & use’ for definition,. A person employed to do outdoor work (such as mowing lawns) 2. Yardman usually refers to men who claim the corners of random yards and streets in london, usually tall. A person who works in the yard. Yard Man Meaning.
From agro-specs.com
YardMan 13705 Specs, Engine, Transmission, Dimensions Yard Man Meaning A person employed to care for the yard of a house,. A person employed to do outdoor work (such as mowing lawns) 2. See ‘meaning & use’ for definition,. Yardman synonyms, yardman pronunciation, yardman translation, english dictionary definition of yardman. There is one meaning in oed's entry for the noun yardman. Yardman usually refers to men who claim the corners. Yard Man Meaning.
From www.youtube.com
Yard Man Wood Chipper Selling at our Fall 2022 OnlineOnly Machinery Consignment YouTube Yard Man Meaning A person who works in the yard of a commercial. Yardman usually refers to men who claim the corners of random yards and streets in london, usually tall. See ‘meaning & use’ for definition,. Worker in a railway yard. A person who works in a railroad yard, boatyard, lumberyard, or the like. There is one meaning in oed's entry for. Yard Man Meaning.
From www.northerntool.com
YardMan Beetle Driving Mower Northern Tool Yard Man Meaning A worker in a railyard. See ‘meaning & use’ for definition,. Yardman synonyms, yardman pronunciation, yardman translation, english dictionary definition of yardman. A person employed to do outdoor work (such as mowing lawns) 2. A person employed to care for the yard of a house,. There is one meaning in oed's entry for the noun yardman. what does the. Yard Man Meaning.
From www.edgerpartsmanual.com
YardMan Edgers Yard Man Meaning A worker in a railyard. Yardman synonyms, yardman pronunciation, yardman translation, english dictionary definition of yardman. See ‘meaning & use’ for definition,. Worker in a railway yard. A person employed to do outdoor work (such as mowing lawns) 2. A laborer hired to do outdoor. yardman (plural yardmen) a worker in any of several types of yard, as: A. Yard Man Meaning.
From www.youtube.com
Yard Meaning of yard YouTube Yard Man Meaning A laborer hired to do outdoor. See ‘meaning & use’ for definition,. Yardman usually refers to men who claim the corners of random yards and streets in london, usually tall. a person employed to care for the yard of a house, public building, etc., as by mowing the lawn and trimming shrubbery. yardman (plural yardmen) a worker in. Yard Man Meaning.
From www.nettikone.com
Yardman AF 6135 ruohonleikkurit Nettikone Yard Man Meaning a person employed to care for the yard of a house, public building, etc., as by mowing the lawn and trimming shrubbery. what does the noun yardman mean? There is one meaning in oed's entry for the noun yardman. A person employed to do outdoor work (such as mowing lawns) 2. See ‘meaning & use’ for definition,. . Yard Man Meaning.
From usermanual.wiki
Yard Man 2440 1 Users Manual Yard Man Meaning what does the noun yardman mean? Worker in a railway yard. Yardman usually refers to men who claim the corners of random yards and streets in london, usually tall. There is one meaning in oed's entry for the noun yardman. a person employed to care for the yard of a house, public building, etc., as by mowing the. Yard Man Meaning.
From dictionary.langeek.co
Definition & Meaning of "Yard" LanGeek Yard Man Meaning A person employed to care for the yard of a house,. A person who works in a railroad yard, boatyard, lumberyard, or the like. A worker in a railyard. Yardman synonyms, yardman pronunciation, yardman translation, english dictionary definition of yardman. There is one meaning in oed's entry for the noun yardman. Yardman usually refers to men who claim the corners. Yard Man Meaning.
From agro-specs.com
YardMan 3250 Specs, Engine, Transmission Yard Man Meaning A person who works in the yard of a commercial. Yardman usually refers to men who claim the corners of random yards and streets in london, usually tall. See ‘meaning & use’ for definition,. yardman (plural yardmen) a worker in any of several types of yard, as: There is one meaning in oed's entry for the noun yardman. Yardman. Yard Man Meaning.